Контакты
Новости
Каталоги
 Войти
Сортировать:
Сначала новые
Сначала старые
Цена ↑
Цена ↓
Кол-во ↑
Кол-во ↓
Имя A→Я
Имя Я→A
Серийник ↑
Серийник ↓
87724950 - прокладка
22 ₽
87725066 - Гайка
729 ₽
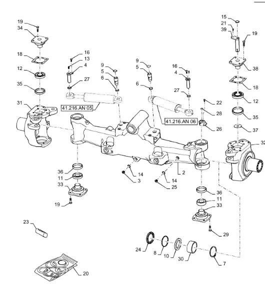
87725290 - Шкворень кул. нижн. моста пер. DS 5кл. T8T8./Mg.
166 576 ₽
87725293 - гайка
70 384 ₽
87725294 - Гайка фланца хвост. моста пер. DS 5кл. TGT8./Mg.
93 892 ₽
87725296 - Палец цилиндра гидр. рул. моста пер. DS 5кл. TGT8./Mg.
44 405 ₽
87725355 - труба
27 893 ₽
87725363 - пластина
14 506 ₽
87725444 - заглушка
193 ₽
87725445 - Заглушка отверстия
409 ₽
87725492 - табличка
396 ₽
87725510 - нож
20 389 ₽
87725511 - наконечник
13 547 ₽
87725588 - трубка
18 208 ₽
87725592 - блок подрезающих ножей
54 416 ₽
87725593 - секция блока подрезающих ножей
13 535 ₽
87725594 -
29 167 ₽
AGCO3811090M91
4 258 ₽
AGCO3780553M1
4 262 ₽
AGCO3902662M1
4 262 ₽
AGCO3907047M91
4 260 ₽
87329332 - вал
3 291 ₽
87725595 -
16 511 ₽
DISC
4 260 ₽
«
<
1
...
33991
33992
33993
33994
33995
...
34117
>
»
Страница:
Перейти